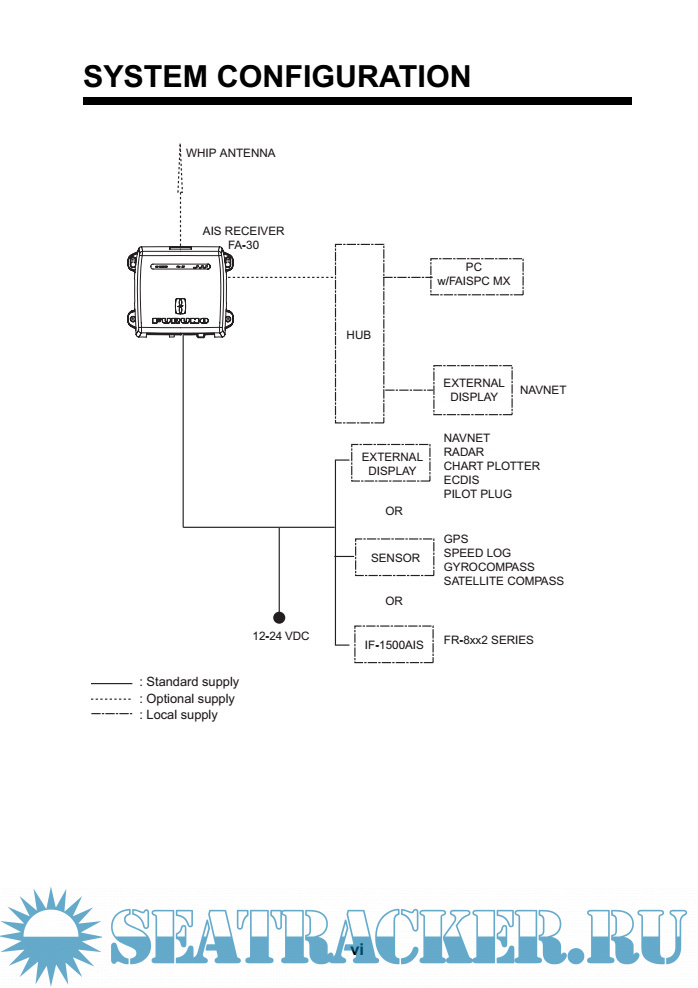
Year: 2012 Language: english Author: Furuno Genre: Manual Publisher: Furuno Edition: E Format: PDF Quality: eBook Pages count: 35 Description: The FA-30 is a compact and cost effective AIS Receiver that is designed specifically for small commercial, leisure and fishing boats. Connected to a VHF antenna it receives AIS data from AIS-equipped vessels, shore stations and navigational aids (AIS-equipped buoys, etc.). Vessel movement is plotted on a display connected to the LAN port. Data includes identity (name, call sign and MMSI), position, speed, heading, etc. of AIS-equipped vessels within VHF range.
You cannot post new topics in this forum You cannot reply to topics in this forum You cannot edit your posts in this forum You cannot delete your posts in this forum You cannot vote in polls in this forum You cannot attach files in this forum You cannot download files in this forum
Furuno AIS Receiver Operators Manual FA-30
Language: english
Author: Furuno
Genre: Manual
Publisher: Furuno
Edition: E
Format: PDF
Quality: eBook
Pages count: 35
Description: The FA-30 is a compact and cost effective AIS Receiver that is designed specifically for small
commercial, leisure and fishing boats.
Connected to a VHF antenna it receives AIS data from AIS-equipped vessels, shore stations and
navigational aids (AIS-equipped buoys, etc.). Vessel movement is plotted on a display connected
to the LAN port. Data includes identity (name, call sign and MMSI), position, speed, heading, etc.
of AIS-equipped vessels within VHF range.
Contents
Screenshots
Furuno AIS Receiver Operators Manual FA-30
Download [2 KB]
Share