Год выпуска: 1966 Язык: русский Автор: Темный В.П. Жанр: Техническая литература Издательство: Энергия Издание: Библиотека по автоматике. Выпуск 180 Формат: DjVu Качество: Отсканированные страницы Количество страниц: 144 Описание: В книге излагаются основные сведения о гидравлических регуляторах как отечественного, так и зарубежного производства, предназначенных для автоматического управления производственными процессами. Рассматриваются области применения этих регуляторов. Для пояснения характера течения жидкости в отдельных устройствах приведены краткие сведения из гидравлики. Излагаются вопросы питания рабочей жидкостью систем автоматического регулирования.
Содержание
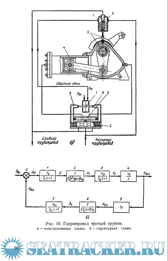
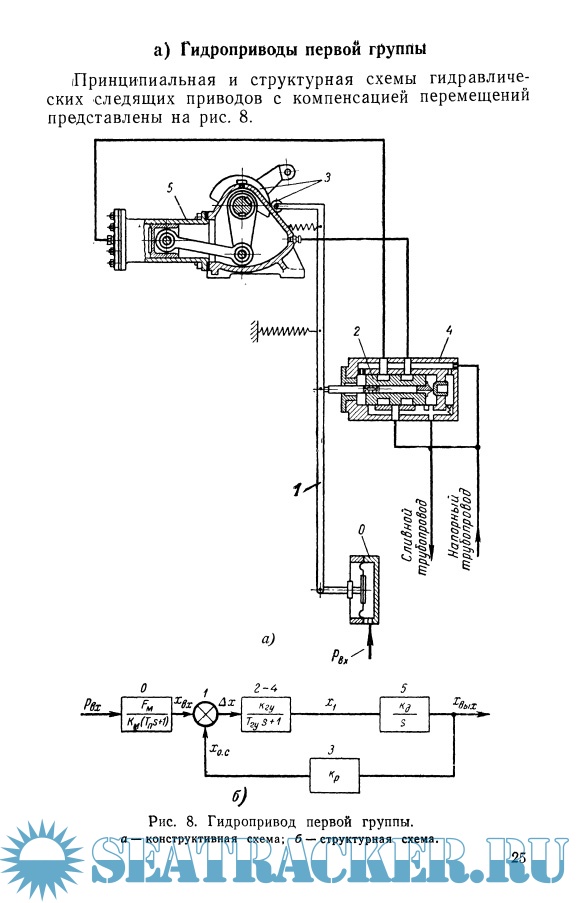
В книге излагаются основные сведения о гидравлических регуляторах как отечественного, так и зарубежного производства
You cannot post new topics in this forum You cannot reply to topics in this forum You cannot edit your posts in this forum You cannot delete your posts in this forum You cannot vote in polls in this forum You cannot attach files in this forum You cannot download files in this forum
Гидравлические регуляторы
Язык: русский
Автор: Темный В.П.
Жанр: Техническая литература
Издательство: Энергия
Издание: Библиотека по автоматике. Выпуск 180
Формат: DjVu
Качество: Отсканированные страницы
Количество страниц: 144
Описание: В книге излагаются основные сведения о гидравлических регуляторах как отечественного, так и зарубежного производства, предназначенных для автоматического управления производственными процессами. Рассматриваются области применения этих регуляторов. Для пояснения характера течения жидкости в отдельных устройствах приведены краткие сведения из гидравлики. Излагаются вопросы питания рабочей жидкостью систем автоматического регулирования.
Содержание
В книге излагаются основные сведения о гидравлических регуляторах как отечественного, так и зарубежного производстваСкриншоты
Гидравлические регуляторы.djvu
Download [5 KB]
Share