Холодильные установки транспортных рефрижераторных судов
Год выпуска: 2025 Язык: Русский Автор: Никишин М. Ю., Гродник Д. В. Жанр: Учебное пособие для вузов Издательство: «Издательство Лань» Издание: 1-е ISBN: 9785507514700 Формат: PDF Качество: Изначально компьютерное (eBook) Количество страниц: 126 Описание: В настоящее время более 80% всего объёма мировой товарной торговли осуществляется по морю, в том числе и транспортировка с применением рефрижераторных судов. Холодильные установки современных транспортных рефрижераторных судов имеют высокий уровень автоматизации, что позволяет судовладельцам сокращать количество членов экипажа в целом и, в частности, не трудоустраивать на такие суда рефрижераторных механиков. В таких случаях обязанности по технической эксплуатации судовых холодильных установок возлагаются на старшего механика или другого специалиста судомеханической службы (зависит от судовладельца). У многих судовых механиков самостоятельная эксплуатация холодильных установок вызывает большие трудности из-за отсутствия достаточной теоретической и практической подготовки. В данном пособии рассматриваются теоретические основы работы производственных холодильных установок транспортных рефрижераторных судов, способы охлаждения грузовых трюмов, конструкция и принцип действия основного и вспомогательного холодильного оборудования, а также системы их автоматизации и основы технической эксплуатации. Вопросы технического обслуживания и возникающих неисправностей в работе конкретного холодильного оборудования рассматриваются в соответствующих разделах учебного пособия. Также приводится основная терминология по судовым холодильным установкам на русском и английском языках.
You cannot post new topics in this forum You cannot reply to topics in this forum You cannot edit your posts in this forum You cannot delete your posts in this forum You cannot vote in polls in this forum You cannot attach files in this forum You cannot download files in this forum
Холодильные установки транспортных рефрижераторных судов
Язык: Русский
Автор: Никишин М. Ю., Гродник Д. В.
Жанр: Учебное пособие для вузов
Издательство: «Издательство Лань»
Издание: 1-е
ISBN: 9785507514700
Формат: PDF
Качество: Изначально компьютерное (eBook)
Количество страниц: 126
Описание: В настоящее время более 80% всего объёма мировой товарной торговли осуществляется по морю, в том числе и транспортировка с применением рефрижераторных судов.
Холодильные установки современных транспортных рефрижераторных судов имеют высокий уровень автоматизации, что позволяет судовладельцам сокращать количество членов экипажа в целом и, в частности, не трудоустраивать на такие суда рефрижераторных механиков. В таких случаях обязанности по технической эксплуатации судовых холодильных установок возлагаются на старшего механика или другого специалиста судомеханической службы (зависит от судовладельца).
У многих судовых механиков самостоятельная эксплуатация холодильных установок вызывает большие трудности из-за отсутствия достаточной теоретической и практической подготовки.
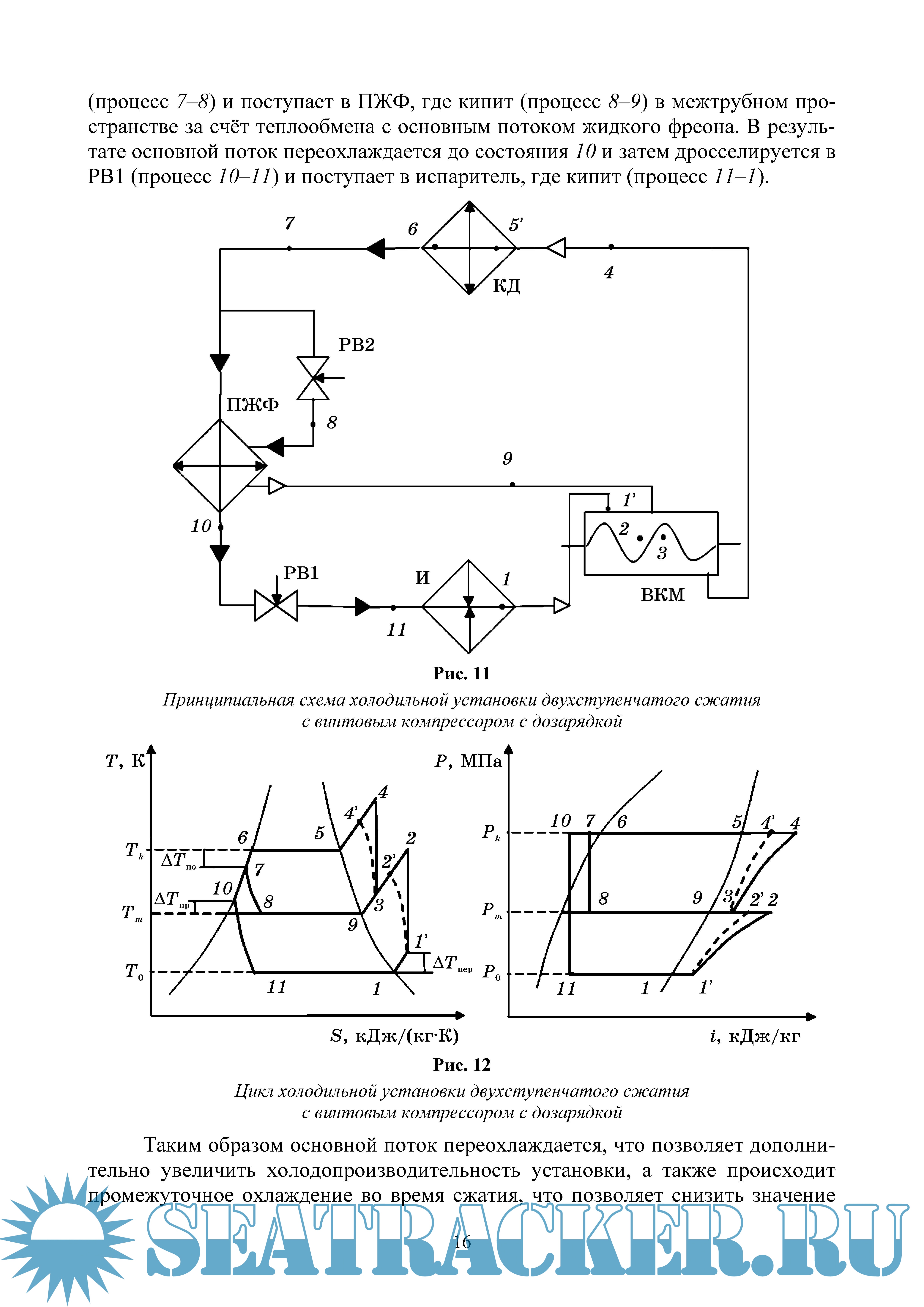
В данном пособии рассматриваются теоретические основы работы производственных холодильных установок транспортных рефрижераторных судов, способы охлаждения грузовых трюмов, конструкция и принцип действия основного и вспомогательного холодильного оборудования, а также системы их автоматизации и основы технической эксплуатации. Вопросы технического обслуживания и возникающих неисправностей в работе конкретного холодильного оборудования рассматриваются в соответствующих разделах учебного пособия. Также приводится основная терминология по судовым холодильным установкам на русском и английском языках.
Содержание
Скриншоты
Hidden
Download [9 KB]
Share