Timus ®   29-Sep-2022 12:55

Гидравлические расчеты водяных противопожарных систем


Год выпуска: 1981
Язык: русский
Автор: Л. С. Ситченко В. Г. Макаров
Формат: PDF
Качество: Отсканированные страницы
Количество страниц: 88
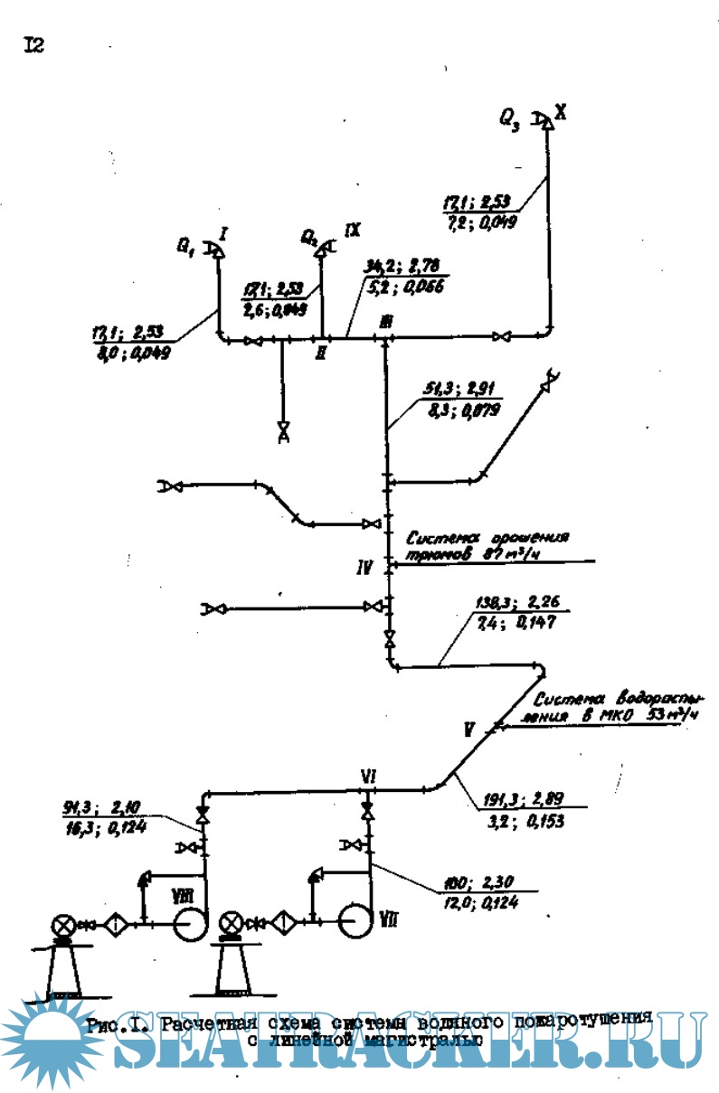
Описание: Гидравлические расчеты водяных противопожарных систем

Содержание

Скриншоты

Гидравлические расчеты водяных противопожарных систем.pdf

Download [1 KB]

Thank U
Reply
refresh list

Similar releases

Гидравлические расчеты балластных систем - Л. С. Ситченко В. Г. Макаров [1982, PDF]
'Мемпест' и его товарищи - Макаров М.И. [2004, PDF/DOCX]
Судовые вспомогательные механизмы и системы - Власьев Б.А., Резчик Ю.И. [1989, PDF]
Гидравлические регуляторы - Темный В.П. [1966, DjVu]
БПК "Адмирал Макаров" (чертежи) - нет сведений [1988, JPEG]
Наблюдение за постройкой, испытания и приемка судов - Захаров Б.Н. [1981, PDF]
Технико-экономические расчеты при проектировании и постройке судов - ЛКИ [1978, PDF]
Краткий морской словарь - Константин Михайлович Станюкович. [1981, PDF]
Проектирование толкаемых составов и составных судов [1981, PDF]
Функциональное взаимодействие элементов судовой энергетической установки - Ивановская А.В.,…
LOAD MORE
  • Reply

The time now is: Today 18:45

All times are GMT + 3 Hours